Rawlings patents 1925-1942

Anything related to gloves (pre-1970) you can post here.

Rawlings patents 1925-1942

Postby mikesglove » October 10th, 2010, 1:56 am

This is the start of inventor Harry Latina"s work for Rawlings Sporting Goods. His first patent was in 1925 for improvements in a catchers mitt. Besides the finger and pinky loops with metal snap closures, leather abutments were placed in each finger stall for the fingertips to grip and cup the hand thus avoiding injury to the palm by a thrown ball, In addition, padding was placed in the palm area distancing the hand from the face of the mitt, again to avoid injury.
rawlings perkinsa.jpg
1925 rawlings cy perkinsaa.jpg
The "Cy Perkins" model was Rawlings top of line mitt and like the "Bill Doak" glove was Rawlings flagship model for decades
1927 schmelzer perkinsa.jpg
Cy Perkins Rawlings AP Back Marka.jpg
User avatar
mikesglove
Hall of Famer Glove Poster
 
Posts: 4335
Joined: July 11th, 2010, 1:27 pm

Re: Rawlings patents 1925-1942

Postby mikesglove » October 10th, 2010, 2:28 am

Again in 1925 Latina improved the grommet web on a fielders glove. An additional grommet was placed at the crotch between the thumb and forefinger
1925 rawlings cross lacea.jpg
The 1931 Rawlings catalog list this as the "Cross Lace" model
Rawlings-1931 cross lace a.jpg
RwlGrmtB.jpg
looking closely, one can see the leather tab and grommet at the base between the thumb and forefinger


The next Rawlings patent was in 1930. It was a joint effort between Latina and Elmer Nolte for an adjustable web on a glove. Two leather straps with holes overlapped one another and were laced together and adjusted to suit the ball player
1930 nolte adj weba.jpg

"Billy Southworth" model from a 1931 Rawlings catalog
southworth adj web.jpg
couldn't find a collectors example of this glove
User avatar
mikesglove
Hall of Famer Glove Poster
 
Posts: 4335
Joined: July 11th, 2010, 1:27 pm

Re: Rawlings patents 1925-1942

Postby mikesglove » October 10th, 2010, 3:07 am

The Rawlings patent by Charles Whitley in 1931 is for a laced finger glove. This is a little bit of an oddity for me because I couldn't find a listing in the few 1930's catalog I found let alone a collector's example. This patent is just four years after the 1927 Ken-Wel lace finger patent and does seem similar to the Ken-Wel. I wonder If "Lawyers, Guns and Money" were involved
1931 whitley rawlings lace fingera.jpg


In 1936, Charles Whitley introduced an improvement on the "Bill Doak" glove. rubber tubing was added over the original laced web as a reinforcement.
1936 whitley tunnel weba.jpg
Doak LF Fronta.jpg


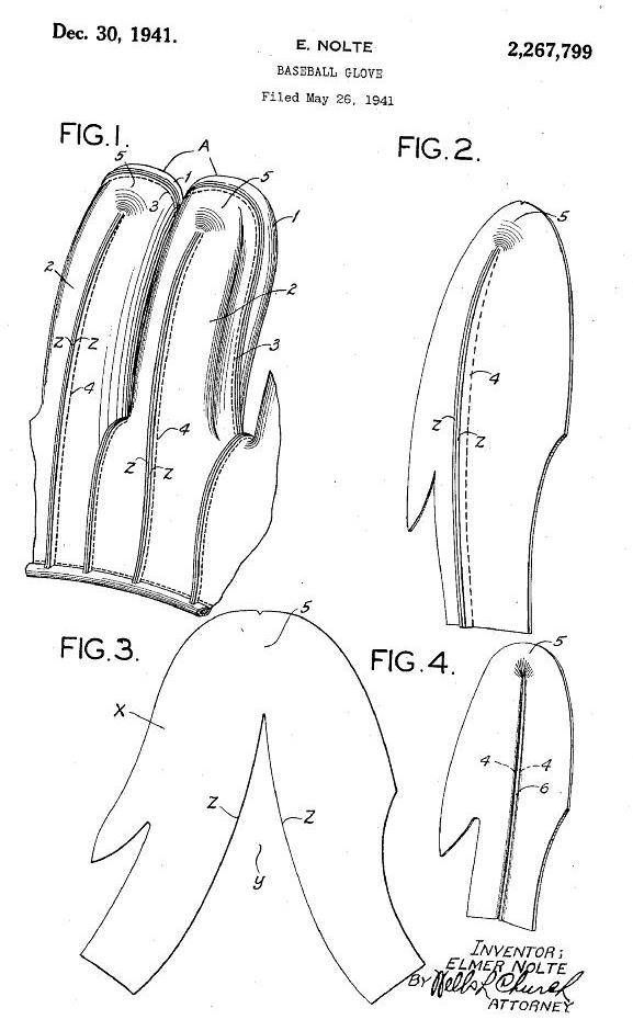
This 1941 patent by Nolte depicts an out-seam on the finger stalls of a glove. It differs from the Wilson out-seam patent. This Rawlings design below has the out-seam stopping short of the top of the finger. Interesting concept. I looked all through thehttp://www.baseballglovecollector.com site and couldn't find an example. Maybe someone could post a picture of this glove.
1941 nolte out seama.jpg


In 1942 the team of Latina/Nolte patented a pre-formed pocket on a glove. The patent described adding lacing to locate the pocket in the optimal place in the palm to catch a ball.
1942 lace pocketa.jpg
"Merrill May" model
Merrill May Rawlings MM Front Marka.jpg
notice the pocket lacing coming through grommets at the heel
Last edited by mikesglove on October 11th, 2010, 1:44 pm, edited 1 time in total.
User avatar
mikesglove
Hall of Famer Glove Poster
 
Posts: 4335
Joined: July 11th, 2010, 1:27 pm

Re: Rawlings patents 1925-1942

Postby softball66 » October 10th, 2010, 8:02 am

Thank you Mike! Fine, informative post!
Raises several ideas and questions for me.
1. I helped the Southworth family indirectly with a glove Billy used and was later put in an auction. The daughter had thought it was a Doak glove but it turned out to be the Southworth model. I thought, at the time, or inferred that Bill was "in" on the glove design. Changing the "looseness" of the web alters the action of the web. Remember the stiffness of the earlier flat webs and Doak's laces relaxed this form making the upper pocket area more flexible. Though this went back to a flat web style you could see that it was a workable idea.
2. Thanks to Mike, finding out that Harry "Doc" Latina wasn't the only glove design guru at Rawlings. Add in the names of Elmer Nolte and Charles Whitley. (who remembers or even knows anything about them?)
3. I believe in patent grants, in layman's terms, the judge has to decide whether the proposed design is too close to an existing patent or is borrowing too much of the previous grant to become a patent of its own. Remember the Valdez Modelo Goldsmith had which may have gotten its patent from Mexico.
4. Obviously the tube idea by Whitley was to strengthen the weak single lacing of the web, which when I first saw those lace webs, I wondered how they would take to a pounding and probably had to be
constantly replaced. If we remember when the tunnel loops came out in the 1930s, it was first one, then two, then three tunnel loops for added strength and even then we found players, on their own, using bandage tape to brace and strengthen the webs. This finally leading the the full solid (or what we call) the barrel web of the early 1940s.
Focus of these Rawlings' web designs shown are intended to strengthen the web primarily.
Wish more of you forum members would "pitch in" on Mike's handy posts.
softball66
Hall of Famer Glove Poster
 
Posts: 1638
Joined: April 18th, 2006, 11:20 pm


Return to Vintage Glove Discussion

Who is online

Users browsing this forum: No registered users and 42 guests